ST and Alps develop high-quality Class-D audio amp for cars
Called FDA901, “the chip aims to contribute to the creation of multi-function, high-fidelity car audio systems that fuse the high efficiency of class-D amplifiers with the high-quality sound of ST’s class-AB amplifiers”, according to ST.
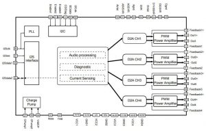
According to ST it features low residual noise, low distortion, a flat frequency response and low EMI. The databrief (I can’t find a publicly-released datasheet) does not put a whole lot of meat on these bones. It does mention CISPR25 – Class V (4th edition) EMI, and that the integrated 24bit D/A converter offers 115dB S/N ratio with 110 dB of dynamic range – maximum output power is 28W into 4Ω with 10% THD (Vd = 14.4V). By applying 15.2V, 4 x 50W can be delivered to 4Ω loads at 1kHz. Power efficiency is up to 93%.
Regarding the flat frequency response, ST has managed to include the output LC low-pass filter within the feedback loop, “allowing superior frequency response linearity and lower distortion independently from the inductor and capacitor quality”.
Control is through I2C and audio through I2S, with input sampling at 44.1, 48, 96 or 192kHz. Load current information is made available so that a host DSP for it to implement real-time speaker diagnostics and speaker performance control.
It comes in a 12 x 12mm QFP.
ST earlier developed class-AB amplifiers with Alps.
“For many years, Alpine Electronics has collaborated with ST, and shared a wealth of sound-related knowledge,” said Alps Alpine Sound Meister (his real title) Yukihiro Kobori. “We have worked with ST to design a class-D audio amplifier IC able to raise the level of audio quality across the entire car audio industry.”
The devices will appear in 39 models of Alpine’s ‘All New BigX’ series after-market car-navigation system in the first half of this year, and will later be used by “several major car makers”, said ST.
The databrief is available through this web page.
